Interrupteur démarrage machine à bois
Interrupteur démarrage machine à bois
Bonjour
Je possède un combiné bois LUREM C266 qui fonctionne en triphasé et qui possède 3 moteurs.
L'interrupteur ne fonctionne plus. Après avoir nettoyé les contacteurs, j'ai réussi à prolonger sa vie quelques mois. Maintenant, un des revêtements de contact a quasiment disparu. Le démarrage se faisait avec des éclairs dans le boitier, mais cela fonctionnait toujours jusqu'à ces jours derniers. Maintenant, plus moyen de lancer la machine. Je suis allé chez un fournisseur de matériel électrique mais il n'a pas été en mesure de me proposer un matériel équivalent. (la machine date de 1986).
On trouve facilement l'interrupteur principal mais sans les connecteurs C1 D1 et et C2 D2.
Ces bornes C1 D1 et C2 D2 sont connectées à l'intérieur du boitier sur un bobinage. De l'autre côté, C1 D1 est connecté à l'élément à droite de l'interrupteur. C2 D2 est relié à un bouton poussoir d'arrêt d'urgence.
Quelqu'un parmi vous, serait-il en mesure de me donner des références de matériel qui me permettrait de remplacer tout ceci.
Si j'ai bien compris, l'un de ces deux éléments est conçu pour empêcher le redémarrage inopiné des moteurs en cas de coupure de courant.
Merci d'avance pour votre aide.
Je possède un combiné bois LUREM C266 qui fonctionne en triphasé et qui possède 3 moteurs.
L'interrupteur ne fonctionne plus. Après avoir nettoyé les contacteurs, j'ai réussi à prolonger sa vie quelques mois. Maintenant, un des revêtements de contact a quasiment disparu. Le démarrage se faisait avec des éclairs dans le boitier, mais cela fonctionnait toujours jusqu'à ces jours derniers. Maintenant, plus moyen de lancer la machine. Je suis allé chez un fournisseur de matériel électrique mais il n'a pas été en mesure de me proposer un matériel équivalent. (la machine date de 1986).
On trouve facilement l'interrupteur principal mais sans les connecteurs C1 D1 et et C2 D2.
Ces bornes C1 D1 et C2 D2 sont connectées à l'intérieur du boitier sur un bobinage. De l'autre côté, C1 D1 est connecté à l'élément à droite de l'interrupteur. C2 D2 est relié à un bouton poussoir d'arrêt d'urgence.
Quelqu'un parmi vous, serait-il en mesure de me donner des références de matériel qui me permettrait de remplacer tout ceci.
Si j'ai bien compris, l'un de ces deux éléments est conçu pour empêcher le redémarrage inopiné des moteurs en cas de coupure de courant.
Merci d'avance pour votre aide.
Re: Interrupteur démarrage machine à bois
Un simple disjoncteur pour protection moteur (magnétothermique), avec deux contacts additifs (déclenchement & position).
Tous les revendeurs de matos élec sauront te fournir le remplaçant rien qu'en voyant la photo, peut importe la marque.
Tous les revendeurs de matos élec sauront te fournir le remplaçant rien qu'en voyant la photo, peut importe la marque.
Si quelquefois tu te sens petit, inutile, démoralisé ou dépressif, n'oublies jamais que tu as été un jour le plus rapide et le meilleur spermatozoïde de ta bande ...
-
ShakuganAI
- Code sa première boucle

- Messages : 13
- Enregistré le : 05 févr. 2021, 14:28
Re: Interrupteur démarrage machine à bois
Bonjour,
Je pense qu'un disjoncteur moteur de gamme GV2ME10 (Schneider 4-6.3A // 2.2kW) avec deux contacts latéraux
GVAN11 (Schneider) devrait suffire. Après il faudra peut-être passer sur la gamme au dessus en fonction de la puissance des moteurs GV2ME14 (6-10A // 3/4 kW en Schneider toujours)
@+
Je pense qu'un disjoncteur moteur de gamme GV2ME10 (Schneider 4-6.3A // 2.2kW) avec deux contacts latéraux
GVAN11 (Schneider) devrait suffire. Après il faudra peut-être passer sur la gamme au dessus en fonction de la puissance des moteurs GV2ME14 (6-10A // 3/4 kW en Schneider toujours)
@+
Re: Interrupteur démarrage machine à bois
PKZ2 de chez Eaton, 3RV1de chez Siemens, GV2 chez Schneider, ... Et la liste est loin d'être complète.
Ton fournisseur de matériel n'a pas l'air très compétent, car c'est du matériel très basique et il est facile de trouver un équivalent.
Ton fournisseur de matériel n'a pas l'air très compétent, car c'est du matériel très basique et il est facile de trouver un équivalent.
Si quelquefois tu te sens petit, inutile, démoralisé ou dépressif, n'oublies jamais que tu as été un jour le plus rapide et le meilleur spermatozoïde de ta bande ...
-
MiGaNuTs
- Mi homme - Mi automate

- Messages : 1575
- Enregistré le : 12 nov. 2015, 21:02
- Localisation : 45 - Loiret
- Contact :
Re: Interrupteur démarrage machine à bois
Vraiment ?
Change de fournisseur. Va voir un vrai professionnel.
ShakuganAI a écrit : ↑24 févr. 2021, 11:05 Bonjour,
Je pense qu'un disjoncteur moteur de gamme GV2ME10 (Schneider 4-6.3A // 2.2kW) avec deux contacts latéraux
GVAN11 (Schneider) devrait suffire. Après il faudra peut-être passer sur la gamme au dessus en fonction de la puissance des moteurs GV2ME14 (6-10A // 3/4 kW en Schneider toujours)
@+
Pas mieux. Merci de l'avoir proposé avant moi, c'est parfait.
Re: Interrupteur démarrage machine à bois
En poussant un peu à l’extrême :
https://www.cdiscount.com/bricolage/ele ... 55056.html
(Il manquera les additifs)
https://www.cdiscount.com/bricolage/ele ... 55056.html
(Il manquera les additifs)
Si quelquefois tu te sens petit, inutile, démoralisé ou dépressif, n'oublies jamais que tu as été un jour le plus rapide et le meilleur spermatozoïde de ta bande ...
Re: Interrupteur démarrage machine à bois
Bonjour.
Merci pour vos réponses. En fait, le professionnel chez lequel je suis allé m'a commandé un disjoncteur sur lequel il n'y avait pas les bornes D1 et D2 car il ne les avait pas vues quand je lui ai apporté le modèle. Du coup à plus de 100 € l'ensemble j'ai préféré poser la question au fournisseur de machine à bois qui, lui, a botté en touche en me disant d'aller voir un électricien. Merci donc pour vos réponses.
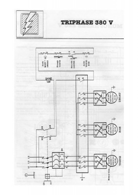
En fait j'avais commandé, en août, un GV2ME10 que j'ai renvoyé car je me suis aperçu qu'il n'avait pas les bornes D1 et D2 pour connecter les fils venant de mon arrêt d'urgence et celui venant du contacteur supplémentaire. La liaison avec le GVAN11 se fait peut-être autrement. Au niveau puissance le GV2ME10 devrait convenir, les moteurs de la machine faisant 2,2 kW. Je vous joins le schéma de principe de ma machine.
Je commande, j'étudie cela et je vous raconterai la suite.
J'ai des ruches à construire et j'ai bien besoin de ma machine. Merci encore.
Merci pour vos réponses. En fait, le professionnel chez lequel je suis allé m'a commandé un disjoncteur sur lequel il n'y avait pas les bornes D1 et D2 car il ne les avait pas vues quand je lui ai apporté le modèle. Du coup à plus de 100 € l'ensemble j'ai préféré poser la question au fournisseur de machine à bois qui, lui, a botté en touche en me disant d'aller voir un électricien. Merci donc pour vos réponses.
En fait j'avais commandé, en août, un GV2ME10 que j'ai renvoyé car je me suis aperçu qu'il n'avait pas les bornes D1 et D2 pour connecter les fils venant de mon arrêt d'urgence et celui venant du contacteur supplémentaire. La liaison avec le GVAN11 se fait peut-être autrement. Au niveau puissance le GV2ME10 devrait convenir, les moteurs de la machine faisant 2,2 kW. Je vous joins le schéma de principe de ma machine.
Je commande, j'étudie cela et je vous raconterai la suite.
J'ai des ruches à construire et j'ai bien besoin de ma machine. Merci encore.
Re: Interrupteur démarrage machine à bois
D1/D2 ne fait pas parti du disjoncteur.
Seul les pôles et les contacts 23-24 / 33-34 en font partie. On pourrait d'ailleurs en supprimer l'un d'eux, puisque la recopie de position inclue la recopie de disjonction.
D1/D2 semble être un relais à manque de tension, mais je ne vois pas son utilité au vu du schéma proposé.
Seul les pôles et les contacts 23-24 / 33-34 en font partie. On pourrait d'ailleurs en supprimer l'un d'eux, puisque la recopie de position inclue la recopie de disjonction.
D1/D2 semble être un relais à manque de tension, mais je ne vois pas son utilité au vu du schéma proposé.
Si quelquefois tu te sens petit, inutile, démoralisé ou dépressif, n'oublies jamais que tu as été un jour le plus rapide et le meilleur spermatozoïde de ta bande ...
Re: Interrupteur démarrage machine à bois
Le disjoncteur a bien des bornes D1 et D2 qui sont reliées à l'intérieur à ce qui ressemble à un électro-aimant (photo ci-dessous)[. D2 est relié à un bouton poussoir d'arrêt d'urgence et D1 est relié au contacteur qui se trouve à droite.
-
philou77
- Mi homme - Mi automate

- Messages : 2142
- Enregistré le : 21 oct. 2015, 10:00
- Localisation : Ile de France
Re: Interrupteur démarrage machine à bois
Salut !
Comme tous les appareils de ce type, tu as un dispositif de déclenchement à MANQUE DE TENSION.
Cela veut dire que le disjoncteur se stopper (passer à OFF) si il y a une coupure d'électricité afin de NE PAS REPARTIR TOUT SEUL au retour du courant.
Il te faut absolument un dispositif identique en fonctionnalité pour remplacer ton appareil défectueux.
Tous les fabricants ont ces dispositifs...
Par exemple chez Schneider :
disjoncteur = GV2ME10 (réglage de 4 à 6.3A)
dispositif à minimum de tension = GVAX385 (pour du 380V entre phase)
Ce sera le même câblage mais attention, pas sûr que ces nouveaux appareils rentrent pile poil dans le boitier que tu as pour le klockner moeller !
si tu n'a pas cette chance, le boitier 'équivalent' chez Schneider sera un boitier type GV2MC(01 ou 02) pour des boitiers en saillie (il en existe à encastrer GV2MP..)
auquel tu pourras ajouter l'option bouton arrêt d'urgence : GV2K04
Comme tous les appareils de ce type, tu as un dispositif de déclenchement à MANQUE DE TENSION.
Cela veut dire que le disjoncteur se stopper (passer à OFF) si il y a une coupure d'électricité afin de NE PAS REPARTIR TOUT SEUL au retour du courant.
Il te faut absolument un dispositif identique en fonctionnalité pour remplacer ton appareil défectueux.
Tous les fabricants ont ces dispositifs...
Par exemple chez Schneider :
disjoncteur = GV2ME10 (réglage de 4 à 6.3A)
dispositif à minimum de tension = GVAX385 (pour du 380V entre phase)
Ce sera le même câblage mais attention, pas sûr que ces nouveaux appareils rentrent pile poil dans le boitier que tu as pour le klockner moeller !
si tu n'a pas cette chance, le boitier 'équivalent' chez Schneider sera un boitier type GV2MC(01 ou 02) pour des boitiers en saillie (il en existe à encastrer GV2MP..)
auquel tu pourras ajouter l'option bouton arrêt d'urgence : GV2K04
Si vous avez compris tout ce que je viens d'écrire, c'est que j'ai dû faire une erreur quelque part ! 

